Modulo Termoelettrico Peltier 12V 3A TEC1-127030 40X40
- Panoramica
- Applicazioni
- Specifiche
- Curve di prestazione
- Disegno meccanico
- Opzioni personalizzate
- Prodotti consigliati
Il TEC1-127030 è un refrigeratore termoelettrico (TEC) di alta qualità a singolo stadio della serie Standard Peltier Module di P&N. Dotato di 127 coppie termoelettriche, questo modulo funziona a 15,4VDC con una corrente nominale di 3A, offrendo un raffreddamento affidabile per un'ampia gamma di applicazioni. I substrati lavorati con precisione garantiscono tolleranze di piattezza strette pari a ±0,03mm per un ottimale contatto termico.
Applicazioni
Adatto per Dispositivi Medici, Attrezzature per Laboratori, Strumenti per Ricerche Scientifiche, Applicazioni Industriali e per Consumatori.
Specifiche
|
Temperatura Lato Caldo(℃) |
25 ℃ |
50 ℃ |
|
Qmax (Watt) |
26.3 |
28.5 |
|
Delta Tmax(℃) |
67 |
75 |
|
Imax (Amps) |
3 |
3 |
|
Vmax (Volt) |
15.4 |
16.4 |
|
ResistenzaModulo(Ohm) |
4.37 |
4.92 |
Curve di prestazione
-
Curve di Prestazione Th=25 ℃
-
Curve di Prestazione Th=50 ℃
-

-

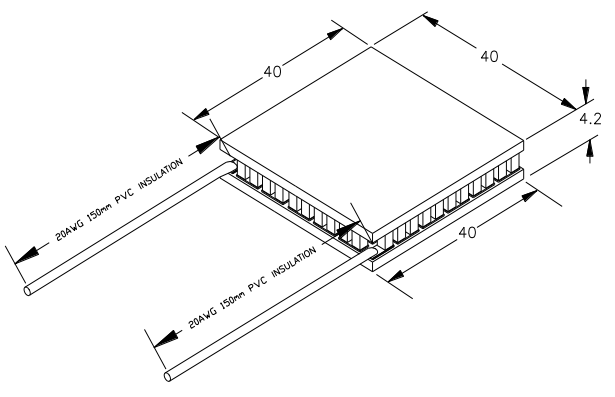
Disegno meccanico

Opzioni personalizzate
Sigillante: RTV, Epoxy o materiale sigillante specifico.
Tolleranza spessore: tolleranze di spessore personalizzate disponibili, con opzioni di precisione fino a ±0,013mm.
Lunghezza del filo: lunghezza e tipo di filo specificati.
Cavo di connessione: marca e modello specificati